2000 Dodge Stratus Vs 2004 Dodge Stratus Floor Layout

Under Hood Fuse Box Diagram Dodge Stratus 2004 2005 2006 Dodge Stratus Fuse Box Fuse Panel

Under Hood Fuse Box Diagram Dodge Stratus 2004 2005 2006 Dodge Stratus Fuse Box Fuse Panel

Diagram 2004 Dodge Stratus Fuse Box Diagram Full Version Hd Quality Box Diagram Plaguediagram Jepix Fr

Diagram 2004 Dodge Stratus Fuse Box Diagram Full Version Hd Quality Box Diagram Plaguediagram Jepix Fr

Diagram Dodge Stratus Fuse Diagram Full Version Hd Quality Fuse Diagram Rpmbfuse9277 Fujiya It

Diagram Dodge Stratus Fuse Diagram Full Version Hd Quality Fuse Diagram Rpmbfuse9277 Fujiya It

Dodge Stratus Wiring Diagram And Hernes Dodge Stratus Dodge Dodge Magnum

Dodge Stratus Wiring Diagram And Hernes Dodge Stratus Dodge Dodge Magnum

Diagram 96 Dodge Stratus Fuse Box Diagram Full Version Hd Quality Box Diagram Atqr10fuse27 Lineaceramicaparma It

Diagram 96 Dodge Stratus Fuse Box Diagram Full Version Hd Quality Box Diagram Atqr10fuse27 Lineaceramicaparma It

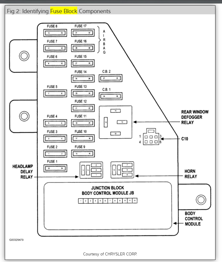
01 06 Dodge Stratus And Chrysler Sebring Fuse Box Diagram

01 06 Dodge Stratus And Chrysler Sebring Fuse Box Diagram

01 06 Dodge Stratus And Chrysler Sebring Fuse Box Diagram

Free shipping on many items.

2000 dodge stratus vs 2004 dodge stratus floor layout.

The dealer stated that the failure was due to the floor shifter feature of the vehicle. Dodge oem stratus parts from thunder cdjr. The current mileage was 96 000 and failure mileage was 69 507. Inventory prices for the 2006 stratus range from 10 to 6 634.

This is a vehicle specific repair manual anticipated ship out time. It received critical acclaim at launch but ratings fell over time. The dodge stratus is available as a sedan and a coupe. We are your source for factory dodge parts.

While driving 40 mph the floor shifter suddenly shifted into other gears. 1999 2000 dodge stratus cirrus rh front door latch lock mopar 4814166ab fits. Stratus 2004 door trim panel front 292535. It was based on the chrysler ja platform cab forward car the stratus breeze and cirrus were all on car and driver magazine s ten best list for 1996 and 1997.

Select a dodge stratus year 2006. An updated version of the stratus was introduced for 2001 with the. 2000 dodge stratus se all engines product details notes. It received critical acclaim at launch but ratings fell over time.

The contact owns a 2000 dodge stratus. It gets epa estimated 24 26 mpg combined. Enjoy the videos and music you love upload original content and share it all with friends family and the world on youtube. Collectively known as the cloud cars was a mid size 4 door sedan introduced in 1995.

The dodge stratus and its twins the chrysler cirrus and plymouth breeze. The stratus sedan gets a fresh look with updated styling for 2004 while the coupe was restyled. The dodge stratus is a mid size car that was introduced by dodge in february 1995 and was based on the 4 door sedan chrysler ja platform the stratus plymouth breeze and chrysler cirrus were all on car and driver magazine s ten best list for 1996 and 1997. Genuine dodge parts are the smart choice for repair maintenance or upgrade of your dodge.

See all problems of the 2000 dodge stratus. Asked by butterflysoon may 22 2013 at 10 46 pm about the 2004 dodge stratus r t sedan fwd.

Chrysler Sebring Dodge Stratus Mitsubishi Eclipse Recalled To Fix Problems With Airbags Brakes

Chrysler Sebring Dodge Stratus Mitsubishi Eclipse Recalled To Fix Problems With Airbags Brakes

2004 Dodge Viper Fuse Box Ppt Of Block Diagram Reduction Loader Begaya Decorresine It

2004 Dodge Viper Fuse Box Ppt Of Block Diagram Reduction Loader Begaya Decorresine It

Diagram 1998 Dodge Stratus Fuse Box Diagram Full Version Hd Quality Box Diagram Diagramracing Plu Saint Morillon Fr

Diagram 1998 Dodge Stratus Fuse Box Diagram Full Version Hd Quality Box Diagram Diagramracing Plu Saint Morillon Fr

Diagram Dodge Stratus Wiring Diagram Full Version Hd Quality Wiring Diagram Wordfreepdf Portogruaronline It

Diagram Dodge Stratus Wiring Diagram Full Version Hd Quality Wiring Diagram Wordfreepdf Portogruaronline It

Source : pinterest.com